Радиолюбительский сайт

Суббота, 14.03.2026, 22:30



Приветствуем Вас Гость | RSS
[ Главная ] [ Каталог статей ] [ Регистрация ] [ Вход ]

Меню сайта

Радиоконструкции

Распродажа

Измерительные приборы в интернет магазине DESSY

Скачать

Радиобиблиотека

RDA

DX кластеры

Цифровая радиосвязь

QSL info

Полезные ссылки

Опрос сайта
Каким видом радиосвязи Вы чаще всего работаете в эфире?

Результат опроса Результаты
Все опросы нашего сайта Архив опросов
Всего голосовало: 816

QRP частоты

QRP частоты

Недавно скачивали
  Swiat Radio №3 2012 
  Журнал Радиомир №11 (ноябрь 2011) 
  Microsoft Office 2010. Самоучитель 
  Радиомир КВ и УКВ №5,2012 
  Радиолюбителям: Полезные схемы. Книги 1- 6 
  Правила дорожного движения 2012-2013. ПДД с примерами и комментариями. 
  DAEMON Tools Lite - программа для mdf и mds файлов 
  Газета"Своими руками" №№1-36 2011 
  Linux Format №3 (155) март 2012 
  РадиоЛоцман №7 2012 
  Схема БП ATX Power Master FA-5-2 ver 3.2 250W 
  Радиомир №5 (май 2012) 
  Журналы Радио 2012 год №№ 1-12.Архив 
  Трансивер PICASTAR 
  Need for Speed: Hot Pursuit 2 
  Машины и Механизмы №12 (декабрь 2012) 
  Наука и жизнь №3 ( март 2013 ) 
  Домашняя лаборатория №2 ( февраль 2013 ) 
  Радиоежегодник №1-№15 ( Архив - подшивка 2010-2012 ) 
  Журнал Радиомир КВ и УКВ №10 (октябрь 2011) 

Статистика

free counters

Онлайн всего: 11
Гостей: 11
Пользователей: 0


Сегодня отметились

Mike, colyacardakov, kletchaty30, aleksejfedorovictucin6984, hot-mam, svyatogorov55


Форма входа

Информация

Зарегистрированным пользователям доступны все разделы сайта в полном обьеме!


Свободный блок

Популярное

СССР: Наши Любимые Песни

Музыка ретро


Песни для юбилея мужчины

Музыка архив


Антивирус Avast -

лучший бесплатный антивирус




Распродажа

Измерительные приборы в интернет магазине DESSY

Главная » Статьи » Схемы радиолюбителю » Усилители мощности ВЧ » Новый РА в трансивере "YES-98M"

Радиолавка 73

Новый РА в трансивере "YES-98M"

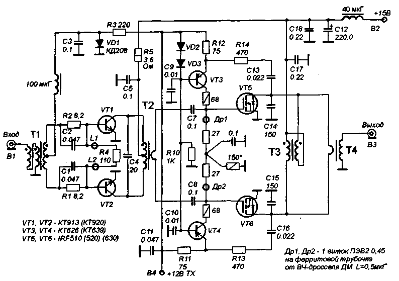
Мощные высокочастотные транзисторы стоят не дешево, и их приобретение обходится в копеечку. Поэтому модернизация усилителя мощности с целью замены дорогих транзисторов представляется актуальной. Чем же их можно заменить? Мне приглянулись мощные "половики" IRF510, 520, 630. Ну, и что, что импортные. Зато дешевые, примерно, доллар за штуку! Естественно. заменяя ими биполярные транзисторы, пришлось, прежде всвао, переработать цепи смещения (см."Р-Д" Na11 стр. 12. 13). Каких-либо других особенностей в этом усилителе нет. Можно, лишь отметить, что при установке полевых транзисторов следует соблюдать меры предосторожности от пробоя статическим электричеством.



Puc.1


На рис. 1 приводится полная схема усилителя мощности. Резистором 150 Ом (со "звездочкой") устанавливается ток покоя выходного каскада 150 мА. Конструкция высокочастотных широкополосных трансформаторов Т1 ... Т4 такая же, как в усилителе на биполярных транзисторах. Повторение этого усилителя в нескольких экземплярах и последующие испытания показали его надежную работу и высокие технические характеристики. Ниже приводятся некоторые из них.

Входное и выходное сопротивление - 50 Ом;
Диапазон частот - 1,8 до 30 МГц;
Синусоидальная мощность на выходе при напряжении питания +15В на сопротивлении нагрузки 50 Ом и с диапазонным ФНЧ:
на диапазонах 160 и 10 м - 45 Вт;
на остальных KB диапазонах - не менее 50 Вт;
Продукты интермодуляции на частоте 14170 КГц (за счет введения активной ООС (отрицательной обратной связи) - не хуже -40 дБ.



Puc.2


Конструктивных особенностей этот усилитель не имеет, и его сборка соответствует тем же требованиям, предъявляемым к изготовлению подобных устройств на биполярных транзисторах. Более того, этот усилитель универсален, и его можно рекомендовать для внедрения в аналогичные радиолюбительские конструкции.

Г.Брагин, RZ4HK
Радио Дизайн N 13
QRX - объявления радиолюбителей

HamRadio. Радиолюбители.RA1OHX

Сайт RA1OHX. Радиолюбители КВ и УКВ

Доска объявлений радиолюбителей "Купи-Продай" ВКонтакте Присоединяйся! >>>


Доска объявлений радиолюбителей "Купи-Продай" В Телеграм Присоединяйся! >>>



Поделитесь записью в своих социальных сетях!



Сайт RA1OHX
При копировании материала обратная ссылка на наш сайт обязательна!

Категория: Усилители мощности ВЧ | Добавил: RA1OHX (19.01.2012)
Просмотров: 6646 | Теги: YES-98M pa, YES-98M | Рейтинг: 0.0/0

Всего комментариев: 0
Добавлять комментарии могут только зарегистрированные пользователи.
[ Регистрация | Вход ]
Поиск по сайту


Поиск позывного

RA1OHX © 2026